हुबेई ज़िन अनेंग कन्वेइंग मशीनरी कंपनी लिमिटेड
हुबेई ज़िन अनेंग कन्वेइंग मशीनरी कंपनी लिमिटेड
समाचार

क्लीनर प्रोटोकॉल निर्धारण

1.1 क्लीनर कार्यक्रम का निर्धारण

कोयले की धूल के चिपकने वाले टेप को स्वीप करें, जिसका पालन किया गया है। जैसा कि हम सभी जानते हैं, खनन के चेहरे से ले जाने वाले कच्चे कोयले में नमी की अलग -अलग डिग्री होती है, और टेप की सतह पर ठीक पल्सीज़्ड कोयले को बंधना करना आसान होता है। यदि टेप में बंधे हुए पल्सीज़ किए गए कोयले को साफ नहीं किया जाता है, तो पल्स्वर्ड कोयला को बेल्ट स्टोरेज बिन और रोलर को खाली सेक्शन (यानी, नीचे बेल्ट) में पूरे निचले बेल्ट के नीचे लाया जाएगा, और यह मुख्य रूप से बेल्ट स्टोरेज बिन में जमा किया जाएगा।

मुख्य परिणाम हैं:

बेल्ट स्टोरेज बिन में बड़ी मात्रा में पल्स्वर्ड कोयला जमा होता है, जो समर्थन रोलर को दफन करता है, जिससे रोलर बेल्ट के सेवा जीवन को संचालित करने और प्रभावित करने में विफल हो जाता है;

2) बेल्ट ऑपरेशन के विचलन से किनारे लटकने या दुर्घटना को फाड़ने का कारण होगा;

3) टेप के रनिंग प्रतिरोध को बढ़ाएं और लागत में वृद्धि करें;

4) कोयले की सफाई की मात्रा बढ़ जाती है, जिससे श्रमिकों की श्रम तीव्रता बढ़ जाती है;

कोयला क्लीनर के उपयोग में, हल करने के लिए तीन समस्याएं हैं:

1) सफाई प्रभाव अच्छा होना चाहिए;

2) क्लीनर को बदलना आसान है, और रखरखाव कार्यभार छोटा होना चाहिए;

3) साफ -सुथरे रंग के कोयले के लिए एक रास्ता होना चाहिए।

1। वर्तमान स्थिति का विश्लेषण

1) पारंपरिक कोयला क्लीनर की संरचना और स्थिति


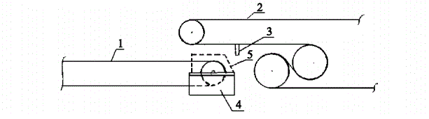
जैसा कि चित्र 2-1 से देखा जा सकता है, कोयला क्लीनर आमतौर पर ड्रम के पीछे स्थापित किया जाता है। कोयला क्लीनर कोयला क्लीनर फ्रेम बनाने के लिए दो स्प्लिंट्स के बीच में टेप के एक टुकड़े को ठीक करना है, कोयला क्लीनर टेप को साफ करने के लिए खोखले टेप से छड़ी बनाने के लिए पिन और लीवर संरचना का उपयोग करें, कोयला क्लीनर बनाने के लिए वसंत के तनाव का उपयोग करें और खोखले बेल्ट एक निश्चित दबाव का उत्पादन कर सकते हैं, और कोयला क्लीनर टेप को दबाव मुआवजा के बाद पहन सकते हैं।

2) पारंपरिक कोयला क्लीनर के दोष

एक। कोयला क्लीनर एक सफाई टेप से बना है, और क्योंकि नीचे बेल्ट एक खोखली बेल्ट है, बेल्ट कोयला क्लीनर के दबाव में तैरता है, कोयला क्लीनर का दबाव पर्याप्त नहीं है, और सफाई प्रभाव खराब है।

6। कोयला क्लीनर अनलोडिंग ड्रम के पीछे की तरफ है, और आम तौर पर स्थापना की स्थिति के अनुसार अनलोडिंग ड्रम से 1 मीटर से अधिक दूर होता है, और सफाई के तहत कोयले को कोयले को अगली बेल्ट के लिए कोयले को स्लाइड करने के लिए एक छोटे कोयला हॉपर को संसाधित करने की आवश्यकता होती है, लेकिन कभी -कभी क्योंकि अंडरग्राउंड स्पेस की ऊंचाई पर्याप्त नहीं होती है, कोयला नीचे नहीं हो सकता है।

सी। कोयला क्लीनर का प्रतिस्थापन कार्यभार बड़ा है, जो कोयला क्लीनर को नुकसान के लिए आसान बनाता है, और प्रतिस्थापन चक्र भी बहुत छोटा है।

3) विशिष्ट बेल्ट परिवहन लैप संयुक्त

एक विशिष्ट बेल्ट ट्रांसपोर्ट लैप को चित्र 2-2 में दिखाया गया है।

जैसा कि चित्र 2-2 से देखा जा सकता है, कोयला क्लीनर के नीचे का कोयला सीधे बेल्ट पर नहीं फिसल सकता है, और "कोयला खदान सुरक्षा नियमों" के प्रावधानों के अनुसार, सभी उपकरणों के 35 रनिंग भागों को एक सुरक्षात्मक उपकरण (यानी, एक ढाल) से लैस किया जाना चाहिए, इसलिए एक बेल्ट को एक ढाल से लैस किया जाता है, दो बेल्ट क्लीनर द्वारा कोयला स्लैड की समस्या बढ़ जाती है।

सम्बंधित खबर
मुझे संदेश दे देना
X
हम आपको बेहतर ब्राउज़िंग अनुभव प्रदान करने, साइट ट्रैफ़िक का विश्लेषण करने और सामग्री को वैयक्तिकृत करने के लिए कुकीज़ का उपयोग करते हैं। इस साइट का उपयोग करके, आप कुकीज़ के हमारे उपयोग से सहमत हैं। गोपनीयता नीति
अस्वीकार करना स्वीकार करना